| |
![]() |
◆灵敏的关闭特性 |
|
||
![]() |
![]() |
|
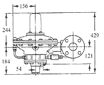
![]() 99-61L |
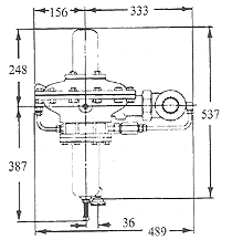
![]() 99-61H |
|
|||||||||||||||||||||
|
|
||||||||||||||||||||||||||||||||||||||||||||||||||||||||||||||||||||||||||||||||||||||||||||||||||||||||||||||||||||||||||||||||||||||||||||||||||||||||||||||||||||
|
||||||||||||||||||||||||||||||||||||||||||||||||||||||||||||||||||||||||||||||||||||||||||||||||||||||||||||||||||||||||||||||||||||||||||||||||||||||||||||||||||||
| 出口压力 bar |
进口压力 bar | |||||||||
| 0.34 | 1.0 | 2.1 | 3.4 | 6.9 | 12 | 16 | 21 | 28 | ||
| 0.017 | 320 | 430 | 640 | 1050 | 1530 | 2650 | 4290 | 5490 | 7100 | |
| 0.035 | 320 | 430 | 640 | 1050 | 1530 | 2650 | 4290 | 5490 | 7100 | |
| 0.14 | 270 | 380 | 640 | 1050 | 1530 | 2650 | 4290 | 5490 | 7100 | |
| 0.28 | ― | 320 | 620 | 1050 | 1530 | 2650 | 4290 | 5490 | 7100 | |
| 0.41 | ― | ― | 590 | 1050 | 1530 | 2650 | 4290 | 5490 | 7100 | |
| 0.55 | ― | ― | 540 | 1050 | 1530 | 2650 | 4290 | 5490 | 7100 | |
| 0.69 | ― | ― | 350 | 1050 | 1530 | 2650 | 4290 | 5490 | 7100 | |
| 1.0 | ― | ― | ― | 910 | 1530 | 2650 | 4290 | 5490 | 7100 | |
| 1.7 | ― | ― | ― | 562 | 1394 | 2650 | 4290 | 5490 | 7100 | |
| 2.4 | ― | ― | ― | ― | 1126 | 2650 | 4290 | 5490 | 7100 | |
| 3.1 | ― | ― | ― | ― | 697 | 2650 | 4290 | 5490 | 7100 | |
| 4.1 | ― | ― | ― | ― | ― | 2650 | 4290 | 5490 | 7100 | |
| 6.9 | ― | ― | ― | ― | ― | ― | 4154 | 5490 | 7100 | |
表中数据为标准状态下比重为0.6天然气的流量。 换算系数:丙烷:0.628, 丁烷:0.775 氮气:0.789; 其它气体:表中数据乘以0.775,再除以该气体比重的平方根。(空气比重=1) |




