High Quality, Excellent Servce,Good credibility ! !
 
 
Detect theory: Catalytic and electrochemical
Detected gases: Comb gas、C2H2、H2S、CO、CO2、CL2、NH3,etc.
Range: 0~100%LET. 0~1000ppm
Accuracy: ±5%FS
Signal output: standard 4~20m A current output
Explosion proof mode: Flame proof enclosure “d”
Explosion proof Mark: Exd ⅡCT6
Explosion proof connection thread: G3/4 Pipe thread
Voltage: DC24V
Power consumption: less than 5.5W/channel
Temperature range: —40℃~+70℃
Relative humidity: 20%~95%RH
 
   Product Characteristics
 

Detect theory: Catalytic and electrochemica
Detected gases: Comb gas、C2H2、H2S、CO、CO2、CL2、NH3,etc.
Range: 0~100%LET. 0~1000ppm
Accuracy: ±5%FS
Signal output: standard 4~20m A current output
Explosion proof mode: Flame proof enclosure “d”
Explosion proof Mark: Exd ⅡCT6
Explosion proof connection thread: G3/4 Pipe thread
Voltage: DC24V
Power consumption: less than 5.5W/channel
Temperature range: —40℃~+70℃
Relative humidity: 20%~95%RH

 
   Detector Installation andFixation
 

First fix the supporting rack on the installation column (if there’s no suitable column at the install point, can choose the iron pipe with diameter 20mm-80mm as the installation column fixed on the install point), twist off the shield of the transmitter, and place the transmitter supporting rack, tightening up the supporting rack and transmitter, and then fit on the shield.

Attention:a. When installing, the sensor points to the downward. (in the shield should be the sensor part)

b. If the installation column placed flatly, it can make the sensor point to downward all the time through changing the direction of the fixing base.

Cable connecting

    • Take out the face piece (twist off the four bolts on the shell)
    • Import the cable to the shell, as the connecting requirements, connect it to the wire holder, and then screw down the cable compaction components with wrench.
Covering the shell, and tightening up with four M4*12 bolts (pay attention to the shell, whether the O rubber seal is damaged, to ensure it seal and steady)
 
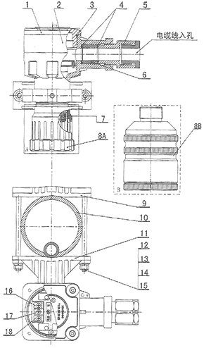
   Total Structure Chart
 

The detector is made up of shell, sensor suite and supporting rack. And the shell is made up of face piece,drain pan,O rubber seal and cable sccess opening components. The shell has flame proof enclosure and protect effect. The sensor component is made up of gas – sensing sensor and shield. Using the epoxy resin connect between and the shell.

1 Face panel
2.Bottom panel
3.O rubber seal
4.Cable washer
5. Cable compaction components
6. Rubber sealing boot
7. O rubber seal
8 A-sensor component(combustible and noxious gas)
8 B-sensor components(noxious gas)
9.Hold-down plate
10.Installation column (¢20-¢80)
11. fixed seat
12.Plain Cushion M6

  • Spring washer6
  • Hexagon nut M6
  • Hexagonal bolt M65100
  • Detector signal line
  • Detector power line
 
 
   Specification and Applicable Gas
 

Specification

Measured Gas

Stock Range

Detection Mode

Connecting Mode

ES2000T-C

Combustible gas

100%LEL

Catalytic

Three-wire System

ES2000T- H2

H2

100%LEL

Catalytic

Three-wire System

ES2000T- H2

H2

5%VOL

Electrochemistry

Two-wire System

ES2000T- NH3

NH3

100%LEL

Catalytic

Three-wire System

ES2000T- NH3

NH3

200ppm

Electrochemistry

Two-wire System

ES2000T-CO

CO

200ppm

Electrochemistry

Two-wire System

ES2000T- H2S

H2S

50ppm

Electrochemistry

Two-wire System

ES2000T- O2

O2

25%VOL

Electrochemistry

Two-wire System

ES2000T- CL2

CL2

10ppm

Electrochemistry

Two-wire System

 
| HomePage | Introduce | Contact us | Our city | Site map | Friendly Link | 中文 |
Copyright(c) 1995-2006 YWH Corporation.
粤ICP备 05009517 号   Best viewed in 800X600 resolution.
TEL.:+86-755-25887166 25887236     FAX:+86-755-25887232  Email:ywh1995 @126.com